
INCH-POUND
MIL-PRF-27/155C
22 April 2011
SUPERSEDING
MIL-PRF-27/155B
14 February 1995
PERFORMANCE SPECIFICATION SHEET
TRANSFORMERS, POWER, STEPDOWN
This specification is approved for use by all Depart-
ments and Agencies of the Department of Defense.
The requirements for procuring the transformer described herein
shall consist of this document and the latest issue of specification MIL-PRF-27.
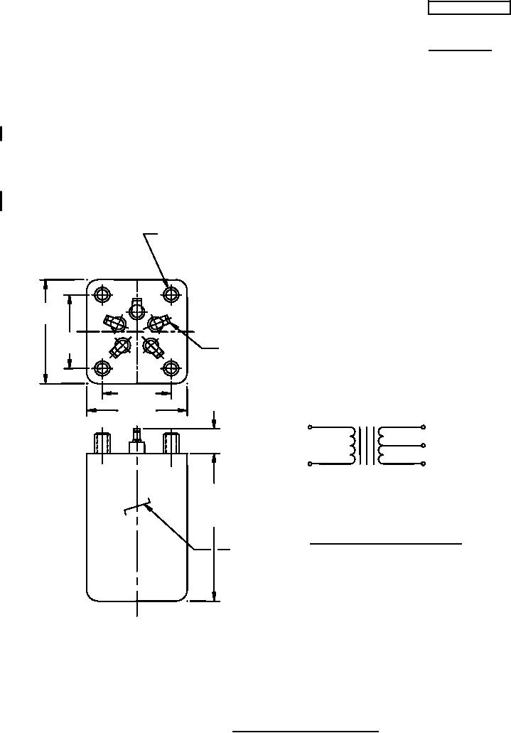
INCHES
MM
.138-32 UNC-2A
.016
0.41
.375 LONG
.031
0.79
4 REQUIRED
.094
2.39
.125
3.18
.138
3.51
.188
4.78
.312
7.92
1.938
NC-3 TERMINAL
.375
9.53
3
2
OR EQUIVALENT
4
.469
11.91
EQUALLY SPACED 72°
5
1.375
19.05
.750
APART ON A .750 DIA
1
31.75
1.250
(TERM OD .312 ± .031
34.93
1.375
5 REQUIRED
46.03
1.812
1.250
49.23
1.938
69.85
2.750
1.812
3
20 V
1
.469
115 V
4
CT
± .031
50/60 H z
5
.6A
2
2.750
+ .000
WORKING VOLTAGE (PEAK)
- .188
535 VOLTS
CIRCUIT DIAGRAM AND MARKING
MARKING
NOTES:
1. Dimensions are in inches.
2. Metric equivalents are given for general information only.
3. Tolerance on terminal position dimensions is ±.016 inch.
4. Unless otherwise speicifed, tolerance on overall case dimensions shall be +.000, -.125 inch.
5. Marking shall be on the side of the case.
FIGURE 1. Dimensions and configurations
AMSC N/A
FSC 5950
For Parts Inquires submit RFQ to Parts Hangar, Inc.
© Copyright 2015 Integrated Publishing, Inc.
A Service Disabled Veteran Owned Small Business