emilspec
An Integrated Publishing, Inc. Site
eMilSpec
An Integrated Publishing Website
MIL-PRF-27-195 Transformer, Power, Stepdown
Pages
1
-
2
-
3
-
4
MIL-PRF-27/195A
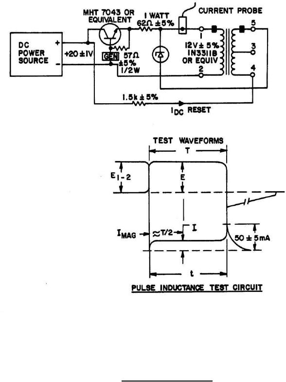
FIGURE 2. Pulse inductance
test circuit.
2
For Parts Inquires submit RFQ to
Parts Hangar, Inc.
© Copyright 2015 Integrated Publishing, Inc.
A Service Disabled Veteran Owned Small Business