
INCH-POUND
MIL-PRF-27/313C
25 July 2008
SUPERSEDING
MIL-PRF-27/313B
19 May 2003
PERFORMANCE SPECIFICATION SHEET
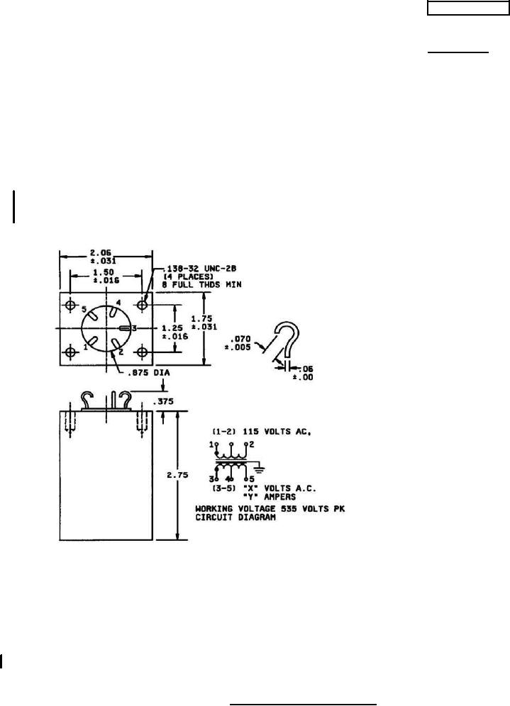
TRANSFORMERS, POWER, 10 VOLT-AMPERES, 60 HERTZ
This specification is approved for use by all Depart-
ments and Agencies of the Department of Defense.
The complete requirements for acquiring the transformer described herein
shall consist of this specification and the latest issue of MIL-PRF-27.
INCHES
MM
.005
0.13
.016
0.41
.031
0.79
.062
1.57
.070
1.78
.375
9.53
.875
22.23
1.25
31.8
1.50
38.1
1.75
44.4
2.06
52.3
2.75
69.9
NOTES:
1. Dimensions are in inches.
2. Metric equivalents are given for general information only.
3. Marking shall be on the sides of the case.
4. Unless otherwise specified the tolerance shall be ±.063 inch (1.60 mm).
5. Electrical values shall be marked as specified in table I, except DCR.
FIGURE 1. Dimensions and configurations.
AMSC N/A
FSC 5950
For Parts Inquires submit RFQ to Parts Hangar, Inc.
© Copyright 2015 Integrated Publishing, Inc.
A Service Disabled Veteran Owned Small Business