
INCH-POUND
MIL-PRF-27/351E
25 July 2008
SUPERSEDING
MIL-PRF-27/351D
22 January 1992
PERFORMANCE SPECIFICATION SHEET
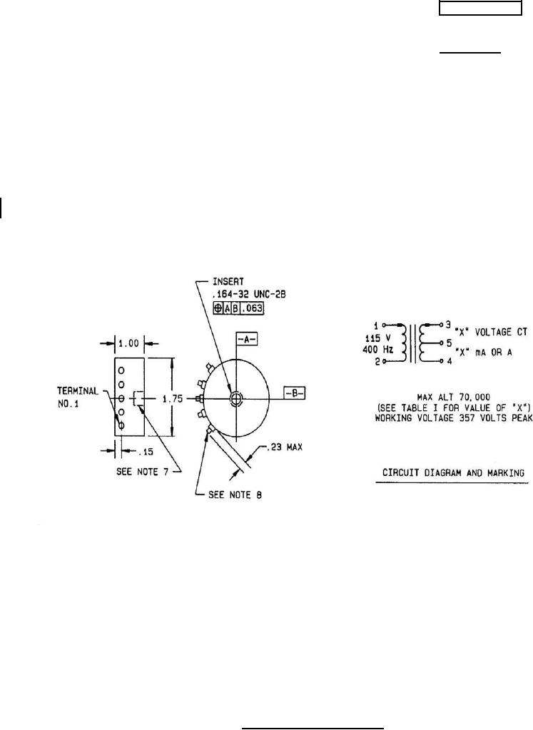
TRANSFORMERS, POWER, 25 VOLTAMPERES, 400 HZ
This specification is approved for use by all Depart-
ments and Agencies of the Department of Defense.
The complete requirements for procuring the transformer described herein shall consist of this
document and the latest issue of specification MIL-PRF-27.
INCHES
MM
.063
1.60
.15
3.8
.164
4.17
.23
5.8
1.00
25.4
NOTES:
1.75
44.5
1. Dimensions are in inches.
2. Metric equivalents are given for general information.
3. Dimensional tolerance shall be ±.03 (0.8 mm) unless otherwise specified.
4. Marking shall be on the top case.
5. Terminals shall be identified by numbers 1 through 5 marked on the top of case above each
terminal.
6. Secondary electrical values shall be marked as specified in table I, as applicable.
7. The insert shall be 5 full threads minimum.
8. Terminal spacing is .35 ±.03 (8.9 ±0.8 mm).
FIGURE 1. Dimensions and configuration.
AMSC N/A
FSC 5950
For Parts Inquires submit RFQ to Parts Hangar, Inc.
© Copyright 2015 Integrated Publishing, Inc.
A Service Disabled Veteran Owned Small Business