
INCH-POUNDS
MIL-PRF-27/359D
13 July 2012
SUPERSEDING
MIL-PRF-27/359C
18 September 2002
PERFORMANCE SPECIFICATION SHEET
TRANSFORMERS, AUDIO FREQUENCY, ULTRA-MINIATURE
This specification is approved for use by all Departments
and Agencies of the Department of Defense.
The complete requirements for acquiring the product described herein shall
consist of this document and the latest issue of specification MIL-PRF-27.
Inches
mm
.010
0.25
.020
0.51
.25
6.35
.475
12.07
.52
13.21
.600
15.24
.750
14.05
1.000
25.40
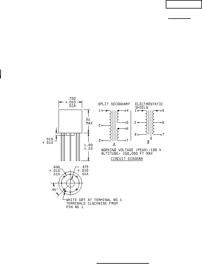
NOTES:
1. Dimensions are in inches.
2. Metric equivalents are given for general information only.
3. Marking shall be on the side of the case.
4. Terminals are identified by white dot as shown above.
5. Primary and secondary electrical values shall be marked as specified in table I, as applicable.
6. Dots on circuit diagram indicate polarity.
FIGURE 1. Dimensions and configuration.
AMSC N/A
FSC 5950
For Parts Inquires submit RFQ to Parts Hangar, Inc.
© Copyright 2015 Integrated Publishing, Inc.
A Service Disabled Veteran Owned Small Business