
MIL-PRF-27/69C
Inches
mm
Inches
mm
.005
0.13
.125
3.18
.016
0.41
.200
5.08
.020
0.51
.400
10.16
.030
0.76
.500
12.70
.062
1.57
.710
18.03
.094
2.39
.800
20.32
.109
2.77
.925
23.50
NOTES:
1. Dimensions are in inches.
2. Metric equivalents are given for general information only.
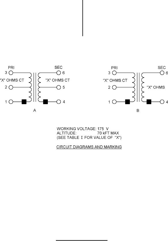
3. Unless otherwise specified, tolerance is ±.016 (0.41 mm).
4. Marking shall be on sides and/or top of case.
5. Electrical values shall be marked as specified in table I, as applicable.
FIGURE 1. Dimensions and configuration Continued.
2
For Parts Inquires submit RFQ to Parts Hangar, Inc.
© Copyright 2015 Integrated Publishing, Inc.
A Service Disabled Veteran Owned Small Business