
INCH-POUND
MIL-PRF-39010/5E
27 August 1997
SUPERSEDING
MIL-C-39010/5D
4 January 1994
PERFORMANCE SPECIFICATION SHEET
COILS, FIXED, RADIO FREQUENCY, MOLDED, SUBMINIATURE
(POWDERED IRON CORE), ESTABLISHED RELIABILITY AND
NONESTABLISHED RELIABILITY
This specification is approved for use by all Departments
and Agencies of the Department of Defense.
The requirements for acquiring the product described herein shall consist of this
specification sheet and MIL-PRF-39010.
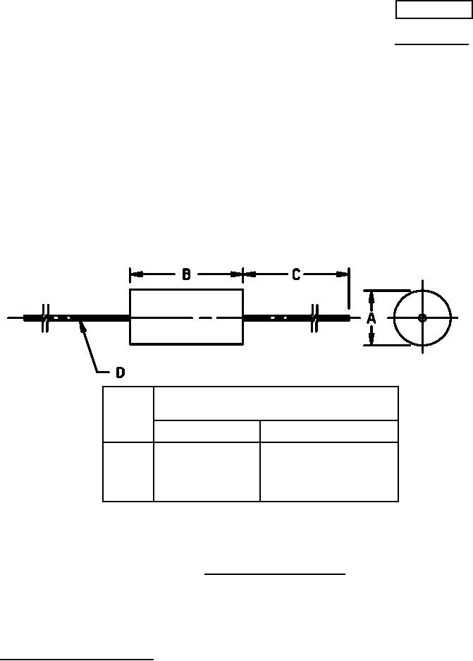
Letter
Dimensions are in inches with metric
equivalents (mm) in parentheses
Minimum
Maximum
.219 (5.56)
.157 (3.99)
A
.469 (11.91)
.407 (10.34)
B
1.626 (41.30)
1.250 (31.75)
C
.027 (0.69)
.023 (0.58)
D
NOTES:
1. Dimensions are in inches.
2. Metric equivalents are given for information only.
FIGURE 1. Dimensions and configuration.
AMSC N/A
1 of 4
FSC 5950
DISTRIBUTION STATEMENT A. Approved for public release; distribution is unlimited.