
INCH-POUND
MIL-PRF-39010/7F
4 April 2008
SUPERSEDING
MIL-PRF-39010/7E
27 August 1997
PERFORMANCE SPECIFICATION SHEET
COILS, FIXED, RADIO FREQUENCY, MOLDED, MICROMINIATURE
(POWDERED IRON CORE), ESTABLISHED RELIABILITY AND
NONESTABLISHED RELIABILITY
This specification is approved for use by all Departments
and Agencies of the Department of Defense.
The requirements for acquiring the product described
herein shall consist of this specification sheet and MIL-PRF-39010.
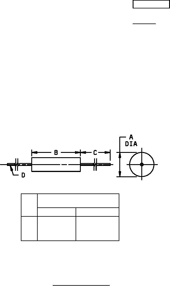
Dimensions are in inches with metric
LTR
equivalents (mm) in parentheses
Minimum
Maximum
A
.146 (3.71)
.166 (4.22)
B
.365 (9.27)
.385 (9.78)
C
1.250 (31.75)
1.626 (41.30)
D
.023 (0.58)
.027 (0.69)
NOTES:
1. Dimensions are in inches.
2. Metric equivalents are given for information only.
FIGURE 1. Dimensions and configuration.
AMSC N/A
FSC 5950
For Parts Inquires submit RFQ to Parts Hangar, Inc.
© Copyright 2015 Integrated Publishing, Inc.
A Service Disabled Veteran Owned Small Business