
INCH - POUND
MIL-PRF-83446/7D
25 August 2006
SUPERSEDING
MIL-PRF-83446/7C
6 July 1993
PERFORMANCE SPECIFICATION SHEET
COILS, RADIO FREQUENCY, CHIP, VARIABLE
This specification is approved for use by all Depart-
ments and Agencies of the Department of Defense.
The requirements for acquiring the products described
herein shall consist of this specification and MIL-PRF-83446.
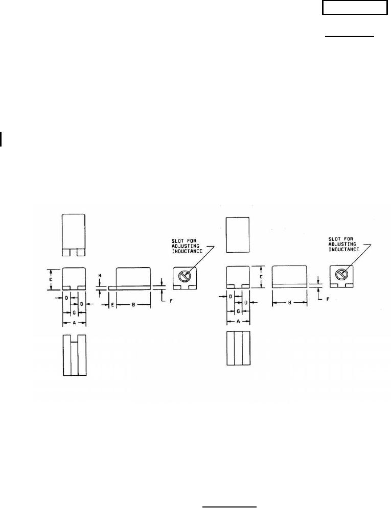
For dash numbers 01
For dash numbers 48
through 47 (with tabs)
through 94 (without tabs)
FIGURE 1. Variable, chip coil.
AMSC N/A
FSC 5950
For Parts Inquires submit RFQ to Parts Hangar, Inc.
© Copyright 2015 Integrated Publishing, Inc.
A Service Disabled Veteran Owned Small Business