INCH-POUND
MIL-T-27/1768
4 May 2012
SUPERSEDING MIL-T-27/176A
13 March 1991
MILITARY SPECIFICATION SHEET
TRANSFORMER, AUDIO FREQUENCY
Inactive for new design after 13 March 1991.
This specification is approved for use by all Depart- ments and Agencies of the Department of Defense.
The complete requirements for procuring the transformer described herein shall consist of this document and the latest issue of specification MIL-PRF-27.

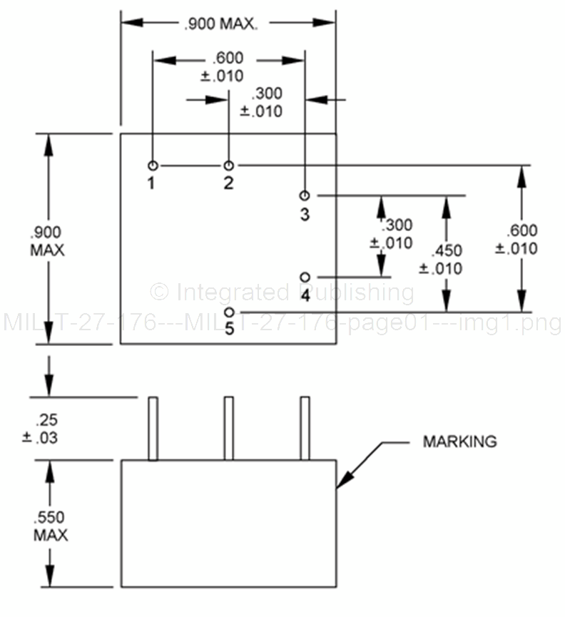
FIGURE 1. Dimensions and configurations.
AMSC N/A FSC 5950
For Parts Inquires submit RFQ to Parts Hangar, Inc.
© Copyright 2015 Integrated Publishing, Inc.
A Service Disabled Veteran Owned Small Business